|
*简称*)是将永磁联轴器的工作原理用于*的新产品,设计合理、工艺先进,具有全密 封、无泄漏、耐腐蚀的特点,其性能达到国外同类产品的先进水平。*以静密封取代动密封,使泵的过流部件 处于完全密封状态,彻底解决了其它泵的机械密封无法避免的跑、冒、滴之弊病。*选用耐腐蚀、高强度的 工程塑料、钢玉陶瓷、不锈钢作为制造材料,因此它具有良好的抗腐蚀性能,并可以使被输送介质免受污染。 主要材料及用途 磁力泵结构紧凑,外形美观,体积小,噪音低,运行可靠,使用维修方便。可广泛用于化工、制药、石油、电镀、食 品、国防、科研机构、冶金、染料等单位抽送酸、碱液、油类稀有贵重液、毒液、挥发性液体,以及循环水设备 配套、过滤机配套。特别是易漏、易,燃、易爆液体的抽送。防爆电动机选用此泵则更为理想设备。
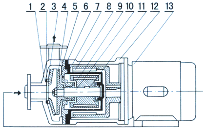
*结构简图
|
1 |
泵壳 |
2 |
静环 |
3 |
动环 |
4 |
叶轮 |
5 |
密封圈 |
6 |
隔板 |
7 |
隔离套 |
|
8 |
外磁钢总成 |
9 |
内磁钢总成 |
10 |
泵轴 |
11 |
轴套 |
12 |
联接架 |
13 |
电机 |
14 |
| |
*安装尺寸表
|
型号 |
a |
b |
c |
d |
e |
f |
g |
h |
j |
a |
k |
m |
n |
机座 螺孔 |
p |
p1 |
q |
q1 |
φ |
φ |
管 子 连 接 |
|
08cq-2 |
63 |
48 |
45 |
55 |
38 |
200 |
105 |
45 |
15 |
84 |
80 |
24 |
16 |
φ6 |
- |
- |
- |
- |
- |
- |
|
10cq-3 |
63 |
48 |
45 |
55 |
38 |
200 |
105 |
45 |
15 |
84 |
80 |
24 |
16 |
φ6 |
- |
- |
- |
- |
- |
- |
|
14cq-5 |
90 |
71 |
95 |
107 |
53 |
270 |
120 |
56 |
16 |
130 |
130 |
37 |
18 |
φ7 |
- |
- |
- |
- |
- |
- |
|
16cq-8 |
90 |
70 |
80 |
125 |
55 |
320 |
160 |
65 |
18 |
115 |
140 |
40 |
22 |
φ11 |
- |
- |
- |
- |
- |
- |
|
20cq-12 |
100 |
80 |
105 |
130 |
59.5 |
340 |
160 |
73 |
18 |
130 |
160 |
65 |
26 |
φ12 |
- |
- |
- |
- |
- |
- |
|
25cq-15 |
125 |
100 |
140 |
189.5 |
67.5 |
460 |
205 |
90 |
- |
160 |
240 |
71.5 |
- |
φ12 |
75 |
65 |
100 |
90 |
120 |
10 |
法 兰 连 接 |
|
32cq-15 |
125 |
100 |
140 |
189.5 |
67.5 |
460 |
205 |
90 |
- |
160 |
240 |
71.5 |
- |
φ12 |
90 |
75 |
120 |
100 |
12 |
10 |
|
32cq-25 |
125 |
100 |
140 |
189.5 |
67.5 |
460 |
230 |
90 |
- |
160 |
260 |
85 |
- |
φ12 |
90 |
75 |
120 |
100 |
12 |
10 |
|
40cq-20 |
140 |
120 |
155 |
235 |
75 |
545 |
220 |
100 |
- |
180 |
290 |
78.5 |
- |
φ12 |
100 |
90 |
130 |
120 |
14 |
14 |
|
40cq-32 |
190 |
140 |
190 |
271 |
80 |
620 |
260 |
112 |
- |
245 |
336 |
91 |
- |
φ12 |
100 |
90 |
130 |
120 |
14 |
14 |
|
50cq-25 |
190 |
140 |
190 |
271 |
80 |
620 |
260 |
112 |
- |
245 |
336 |
91 |
- |
φ12 |
110 |
100 |
140 |
130 |
14 |
14 |
|
50cq-40 |
190 |
140 |
190 |
271 |
80 |
620 |
260 |
112 |
- |
245 |
336 |
91 |
- |
φ12 |
110 |
100 |
140 |
130 |
14 |
14 |
|
65cq-25 |
216 |
140 |
200 |
305 |
90 |
695 |
300 |
132 |
- |
280 |
350 |
91 |
- |
φ12 |
130 |
110 |
160 |
140 |
14 |
14 |
|
65cq-35 |
216 |
140 |
200 |
360 |
76 |
720 |
292 |
120 |
- |
280 |
350 |
90 |
- |
φ12 |
130 |
110 |
160 |
140 |
14 |
14 |
|
80cq-35 |
254 |
210 |
- |
- |
- |
890 |
|
160 |
- |
- |
- |
- |
- |
φ12 |
- |
- |
- |
- |
14 |
14 |
|
80cq-50 |
254 |
210 |
- |
- |
- |
890 |
|
160 |
- |
- |
- |
- |
- |
φ12 |
- |
- |
- |
- |
14 |
14 | |